港口固定式高杆照明灯的改造
一、前 言
赢咖7极悦高 杆 照 明 是 近 十几年 发 展 起 来 的。随着港 口 事 业的发 展,高杆 照 明 灯 已 被 各 港广泛 地应 用,这 种新 型 设 施 以 高质 量的 照明 和 美 观 各 异的造 型 取 代 了 旧 式的铁 架灯塔,减 少了 占 地、美 化 了 港 口 环 境,成为现 代化港 口 的标志 之一。
在 港 口 使 用 的 高杆灯 中,主要 有 灯 头不能升 降 的 固 定式高杆 灯 和 升 降 式高杆灯两 种 型式。实践 证 明,固 定式高 杆灯存 在着 维 护 不 便,易 发 生 安 全 事 故 等 缺点。如何 对 固 定式 高杆 灯进行改造 使 其成 为 升降式,是 各 港 口 所面临的 普 遍 问题。本 文 针对 龙 口 港的实 际 情 况,介 绍 了一 种 对 固定式 高杆灯 进行 改 造 的 方 法。
二、固定 式 和 升降 式高 杆 灯 结 构 分 析
赢咖7极悦1.固 定式高杆灯 结 构缺 点
固 定 式 高杆灯 的 灯 杆 和 灯 头 之 间 是用螺栓 紧 固 联 接 的,灯 头不能 升 降,所 以 每次 维修 时,需 一 至 二 名 工 人 乘 吊篮 升 到3 0m的 灯 头 处进行操作,空 作 业 既不方 便 也不安全。
2.升降 式高 杆 灯结构 特 点
升 降 式 高杆 灯 的 灯头 和 灯杆 之 间 是通过定 位 机 构 联 接 的,头 在动力 机构 的作用下,可在 灯杆 上 作 升 降 运 动,定 位 机 构的 作 用 是使灯 头 既能 在 灯 杆 的顶部锁住 不动( 动力机 构 不 再受力 ) 处在 工作状 态;又能 在动 力机构 的 作 用 下,动 脱离 定 位而降 至 灯杆底 部 以 便进 行维 护。
从 以 上 分析 中 可 以 看 出:定位 机构 是升 降 式 高 杆 灯 最重 要 的机构,也 是 对 固 定式高 杆 灯 进 行 改造 最 为 关 键 的问 题。
三、一 种 可 靠 的定 位 机 构简介
目 前 的 升 降 式 高杆 灯,使 用 了 各 种的定位机构。笔 者 在 实 际 工作中,设计 一 种结构简 单、动作可 靠 的定 位锁 爪 机 构,其动作 原理 简介如 下:
在灯 头的 架体 上 安装 定 位锁 爪,锁 爪在转 轴 上可 自 由 转 动,在重 力的作 用 下,锁爪 保持着如 图1所 示 的自 由 状 态。

在高杆灯的 灯 杆 上 安 装如 图2 所 示 的定位 锁 座,锁 座 应坚 固 可靠,并 通过其 它的机构 和 灯 头上的 锁 爪 保 持 一 定的对应 关系。

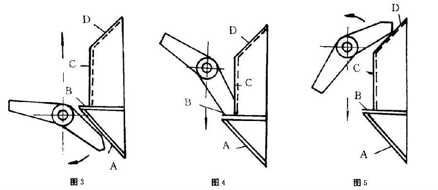
灯 头 在动力机 构 的 作 用下,沿 着 灯 杆向 上 升 起,当 灯头 接 近灯杆 的 顶部时,灯头 上 的锁 爪 与 灯杆 上 的 锁 座 A 面 相 接触,如 图3所 示,这样锁 爪 被 顺 时 针转 动 一定角 度,从 而 越 过锁座。
当 锁 爪处 在 锁座 C 面 范 围内,停 止 灯头 的上 升,并让其下 降,锁 爪 右 端 将沿C面 下 滑,最 后在 C 面 和 B 面 交线 处 被 锁住,即灯 头此时 与灯 杆 联锁 处在 工作状 态,如 图4所 示。
赢咖7极悦如要 落 下 灯 头,必 须在 动力机构作 用锁 爪 脱离锁 座后,在 重力 的 作 用 下,总是 保持 图1 所示 的 自由 状 态。为 了 使灯 头定位 可靠,一 般 在 灯 头 上 和 灯杆 上 分别 按1 2 0 0布,安 装个 锁 爪 和3个锁 座。
赢咖7极悦根据 上面 的 原 理,从 9 4 年 起,我 们 已自 行 设 计制 造 了5H D 3 0 型 升 降 式高杆灯,几 年 的 使 用 证 明 这种升 降 式高 杆灯,操简 单,维 护 方便,安全可 靠。

赢咖7极悦四、固定 式高 杆灯改造
赢咖7极悦从前 面的论述 中可 以 看 出,固 定式高杆 灯 改造的 关 键 问 题是:将 定 位锁 爪 机构安 装 到 固定 式 高 杆灯上,即 在 灯 头上 安 装锁 爪,灯 杆 上 安 装 锁 座。
因 高杆灯 是码头 作业 照 明 的 重 要设备,而 对 固 定式高杆 灯 进 行 改造需要 较 长时间,这样势 必 会 影 响码头 的 生 产。为了 解 决 这个问题,我 们 在具 体 改造时 采 用了“制新”和“改 旧”相结 合 的方法,实践 证 明 用 这种 方法改 造 固 定 式 高杆 灯可 以较好地解 决 改造 和 生 产之 间 的矛 盾。
改 造 的 具体 过 程:
1.首先 根 据 港 口 的 建 设、改造 计 划、扩建、改 造 码 头、货 场 ,是 否需要 安下,先让 灯 头上 升 一定 的 距 离,当 锁 爪 升高 至面后,停 止 上升并开始 降 落 灯 头,锁 爪 在下 落时,与 锁座 的D面 相 接触,将逆时 针 转 动 一定 角度,从 而 越 过 锁 座,这样灯 头 便 可 顺 利 地 降落 至 杆底部,如 图5所 示。装高杆 灯,来 确定 固 定式 高杆灯 改造 计 划。
赢咖7极悦2.根 据 实 际生 产 进 度,提 前 安排 生 产降 式高杆 灯。
赢咖7极悦3.根 据码头 的 生 产 状 况 和 作 业安 排,将 要 改造 的 固定 式 高 杆 灯 从基 础 上 全 部卸。
4.再将 已 做 好 的升 降 式 高杆 灯安 装改造泊位 上,大 约 需两天的时间,即可入 使 用。
赢咖7极悦5.把卸 下的 固 定式 高杆灯 运 回 厂 内,进行 改 造,使其成 为 升降 式 高 杆灯。
6.将改 造 后的高杆 灯,再 用于 新建 的位置或 下 一个要改造 的 地方。根 据 上 面 的步骤,我们利用龙 口 港新客 滚 码 头需要 安 装 高杆灯 的 机 会,对我 局煤 码 头 上 的两 棵 固 定式高杆 灯 进行 了 改造。并 取 得 了 良 好 的 效 果。
五、结 束 语
赢咖7极悦本 文 所介 绍 的是作 者 在 固 定式 高 杆 灯改 造实 际 工作中的 一 些 体会,这 将对 固定式 高 杆 灯( 特 别是 在港 口 中使 用 的 固 定式高 杆 灯 ) 的改造 有 一 定 的 参考 价 值。
上一条: 高杆灯的介绍与施工
下一条: 升降式高杆灯简易维修方法


苏公网安备32108402000666号 