G30型升降高杆灯防坠制动系统的设计
高杆照明灯在 6 0 ~ 7 0 年 代 已广泛用于世 界 各 国 的 道 路、广 场、体育 场、停车场、机 场 等 场所。80年代中后期我国开始应用。据不完全统计,全国现有不同形式的高杆 灯近500基.
赢咖7极悦高杆照明设备的维护方式大体上有3 种,即采用升降车、内爬梯和可升降式灯架。使用经验表 明,这 些 结构 形 式 都存 在 某 些不 足。如灯 架升降 式 结构,曾 发 生过 断 绳、脱 扣、掉 架 等 事 故,造 成人身伤亡;固 定式 灯架维修 不 便,需 配 置 3 0 ~4O m高的 升 降车,其 造 价 昂 贵,利 用 率 不高。因此,设 计 出设 有 绝对 可靠的 安全防 坠 系统、灯架为可升降式、维护工作能在地 面上 进 行 的高 杆 照 明设 备,即 成为 用户和 厂 家 共同 追 求的 目 标。
赢咖7极悦笔者在吸收国内外同类产品优点的基础上设计制造的G30型高杆灯,其试验及实用结果表明,理论计算与实际效果一致。
1 G30型升降高杆灯的结构特点
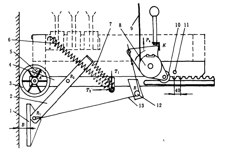
G3 0 型 高杆灯 由 灯杆、固 定架、灯 架、卷扬机 和 电 控 系统 等部分 组 成 ( 图1 )。卷扬 机 启 动 后,通 过 钢 丝 绳、滑 轮 组 实 现 灯 架 的整 体 升降。灯 架 的 上、下 极限位 置 由 相 应 的 行 程开 关 来 控 制。
可升降 灯 架 在卷 扬 机 的 驱 动 下 可 以 沿 灯 杆 轻 便 地 升 降,并可 停 留 在 任 意位 置。灯 具 的安装、维修 和 照 明 覆 盖面 的调 整 均 可在 地 面 上 进 行,既 保 证 了 操作 人 员 的 安全,减 轻 了劳 动 强 度,又省 去 了 昂贵的高 空 升降车。
赢咖7极悦为 确 保使 用 安 全,升降 灯 架 上 设 有 防 坠 制 动系统。当 悬 吊钢丝 绳 l ( 根 主 绳,3 根 副 绳 ) 脱 扣 或拉 断 时,制 动系统能 立 即实 现缓 冲 式 制 动,从 而 可确保 地面 人 员 的安 全和 灯 架灯 具 等 设 备 不受 严重损 坏。
赢咖7极悦升降 灯 架 由设 在 灯杆 内腔 底部 的卷 扬 机驱 动。卷扬 机 由 电机、安全离 合 器、蜗 轮 蜗 杆减速 器、钢 丝 绳卷筒 等 组 成。电 机 配 有失 电 制 动器,进 一 步 加 强 了 灯 架位 置 的锁 定 作 用。
赢咖7极悦灯 架 中 有3 个 用 弹 簧拉 紧 的 导向 轮,沿 灯 杆 表 面滚 动,保 证灯架 在 升 降 过 程 中 不出 现 横 向摆动 和 螺 旋 式扭动。当 灯架升 至最高 设 定位 置 时升降 灯 架 的3 个 定 位球 头插入 杆 顶 固 定三 角架上 相 应 的 定位槽 内,确 保升降 灯 架 在设 计 风 力 的 作 用 下 不产生扭 动。升降灯架 的最 高 行 程 终 点 和 最 低 行 程 终 点由行 程开 关 控制。为 防 止 钢 丝 绳过 载,传 动系统 中 设 有 摩擦 式 安 全 离合 器。

图1 G30型 离 杆灯 简 圈
赢咖7极悦2 防坠制动系统设计工况的确定
升 降 灯 架 坠 落 的可能性有4种 情 况:1 ) 主 钢 丝 绳 拉断或脱扣, 2 ) 3根副钢 丝 绳同 时拉断或脱 扣;3 ) 2根 副 钢 丝绳 同 时拉 断 或脱 扣; 4 ) l根 副 钢 丝绳 拉 断或脱 扣。由 于主 钢 丝 绳 安 全系 数较小,所 以 发生 第1 种情 况 的 几 率 最 大。现 以 主 钢 丝 绳拉 断 或 肚扣 为设 计 工 况,对 升 降 灯 架 防 坠 制 动 系 统进 行 设 计 计 算。
3 灯架防坠制动系统的工作原理
升降 灯 架 上 装有3 组 防 坠 制 动系统,相互 呈12 0 0配置,在 正 常 情 况 下 副钢 丝 绳 9 ( 图 2 ) 绕在 水 平调 节轮8 上。灯 架 重 力 的 作 用通过点K限 制 水平调 节 轮 转动,钢 丝 绳处 于 张 紧 状态.这种 状 态 具 有 以 下3 个 特点:

图2 灯 架 防 坠 翻动系 统结构 简 圈
l ) 灯 架升 降 过程 中 3 个导 向轮 3 在 拉 紧 弹 簧 的 作 用 下始 终 压 紧 在 灯 杆表 面 上
,因而 消除了 灯架 升 降 过程 中可 能 出 现 的 摆动 或 扭转。
赢咖7极悦2 ) 灯杆是 拔销形 圆锥 体,杆梢与杆底直 径 差2 7 0 m m。由 于 副钢 丝 绳 处 在重 力张 紧 状态,齿条 压 轮 1 0 将 齿 条下 压,使齿条 上 的 齿 槽与 止 动 销 轴 1 1 保持分 离 状态,允 许齿条 总成 沿 径 向自 由 移动,保 证 导 向轮始终 在 弹 簧 力 作 用下 压 紧 于 灯 杆 表面 上。
赢咖7极悦3 ) 这时 制 动蹄在拉 紧钢 丝 绳 1 3 的 作 用下 与灯杆表 面 始 终 处于 不 接 触 状态,其分离 间 隙 为B。当 导 向轮 及 齿 条 总 成径 向移 动时,制 动蹄也随 之 同 步 移 动,但B值 按 一 定 规律有 少 量 变 化。
4制动过程与受力分析
4.1 制动过程
赢咖7极悦当 悬 吊 钢 丝 绳 ( 如 主 钢 丝 绳 ) 拉断或脱扣时,副 钢 丝 绳 拉 力 凡 ( 见 图 2 ) 消失,防 坠 制动 系统各件 同 时 产生 如 下 动 作:1 ) 水 平调节 总 成 绕 自身 支 承 轴 向逆 时针 方 向转动,其动力 源是拉 紧 弹赞6 的垂直 分 力 T,,与 此 同时 齿条右 端 向 上抬 起,其摆 动 支点为A ; 2 )止 动 销 轴 1 1 嵌 入 齿 条 上的某 一 齿 槽中,齿条 总 成 无法再 作径向移动;3 ) 水 平 调 节 总 成 转动 时 制动 蹄 拉 紧,钢 丝 绳 1 3 放松,制 动 蹄在弹 簧7的 作 用 下绕 支点R :摆 动
,抱 向 灯杆表面,实 现 制 动。
4.2 制动条件
赢咖7极悦当 制 动蹄 与 灯杆 表 面 接 触 时,灯杆 表 面 与 制 动 蹄 表 面 ( 有高 摩 擦 系 数 橡 胶 层 ) 产 生 摩擦力F,和 径 向 反 力FZ (图 3 )。有F:=/ t an a 式 中:p 、为 每 个制动蹄 上 所 分 配 的灯 架 重 力; 拜 为 制 动 蹄 橡 胶表 面 与 灯杆表 面 间的 摩 擦 系 数 ;取产 ~0.8 ,a为 制动 蹄 与 灯 杆接 触时U形架 与 灯 架 的夹角。

赢咖7极悦图3 防 坠 制 动 系统 制 动状 态 受 力简 圈
略去 制动蹄 拉紧弹簧 的 拉力时,实 现 制 动的 力学条 件为F,/ P、=产 / a tn a)l
当产 = 0.8 时,a tn a<0.8, a<3 8.60 。设 计时 取a(3 00, 实 际 上,在 制 动 状态 时a=17 ~ 2 60 。
另 外,制动作 用 的 实 现 是 以止 动 销 轴嵌 入 齿 条 齿 槽 为前 提的,这 时点A和c均 成 为固定点 ( 图3 )。但在断 绳 的瞬间 止 动 销 轴 不一 定 正 好 对准 齿 槽,这 时在 反 力F的 作 用 下,点A向 远灯杆方向移动,B值 加 大直 至 销 轴 嵌 入 齿 槽,实 现 可 靠的制动A最 大移 动 距 1个齿 距 ( 40 m m ,这 时 导 向 轮与 灯 杆 脱 离接出 现5 ~4 0m m的 间 隙,只 有3个 制动 蹄起 制 动作 用。
在正 常情 况下,防 坠 制动 系统 能 够 可 靠 实 现 自 锁 式 制动。制 动效果 与 灯杆的 锥 度无 关,只是 依靠 3 个 制 动蹄,从相间1 2 0。方向 上 将 下 落的灯 架“抱死”在 灯架 上;制 动 效 果 只 与 摩 擦 系数产、角a有关。灯 架 坠 落 的 总 作 用 力 ( 如 重 力、冲 击 力 等 )越 大,制 动力也 随 之相 应 增大。
4.3 二次模式制动过程
在 制 动蹄 与灯杆表 面 存 在 雨 雪、层 等情 况 下摩 擦 系 数 明 显 减 小,制 动蹄 与 灯杆表面 可能 出 现 滑 移。这 时防 坠 制 动 系统 虽然 能起 到 有效 的缓 冲 作 用,但不能 可靠 地 防 止 升降灯 架 下移,而G3 0 型 高杆灯的 防 坠 制 动 系 统 则 可利 用3个 导 向轮实 现二 次 楔 式 制 。
假 定 制动蹄 在 制 动过 程 中 完全 不 能 阻 止 灯 架 下落,下 滑 距 离 为艺 一 从 一 1式中: b为齿条 齿 间距 离,b ~ 0.0 4; k 为灯 杆 表 面 斜度,k 一 4.5 / 1 0 0 0。将 已 知 数 值 代 入,得 l= 0.0 4 X 1 00 0 / 4.5 = 8.88 9 m完 全 按 自 由 落体计 算,制 动 过程 所 需 时 间 为t =( 2 1 / 夕 )` / 2式 中g为重力加速度,g ~ 9.s m s/, 。将 已 知 数 值代 入,得t =( 2 X 8.88 9 / 9.8 )` / 2 =1.3 55计 算 计 果表明,从完 全 自 由落体角度考 虑,由 下 坠 开 始 至 完 全 制 动 为 止,只 需 要1.3 5:,即接 近 瞬间 制 动,最 大 下 滑距 离 不 超 过g m,不会 危 及地面 人 员 安 全。
5 制动蹄表面与灯杆表面间距 离B的运动学分析
灯 架 升 降 时 导 向 轮 沿灯 杆 斜 面 滚 动,齿 条也 作 同 步 移动,这 时 特 殊 点R,R :,凡 ( 图 4 )的 坐标值 也 发生 变 化。R 运 动 会直 接 影 响 B值。若 设计或 调整 不 当,灯 架 升 降 到 某 一 位 置 时,B 成O,则 制 动 蹄表 面 与 灯 杆接 触,灯 架 无 法下 降,即 处 于 制 动 状 态。为 防 止这 一现 象 出 现,必 须 准 确地 计算 出 灯 架 升降 过程 中值 的 变化 规律,并 确 定 调 整初 始间 隙。

图4 . B位 随 灯架 高 度 H 的 变 化
赢咖7极悦由 图4 可得方 程式 中:与 提 升高 度 有关 的计 算 过 程 值,q 一 f,( H ) ~a 姗 A :,p ~了2( H ) 二。 in 月 : 汁 为灯杆 斜度 终 为 制 动蹄表 面 至 制 动 蹄支 承 轴 中 心 的 距 离。整 理 得B =了 一 配o sA : 一 创 怡i n A 3式 中: 。为 结 构 尺 寸; A :为 与 灯 架 提升高 度有关 的角 度 ( 计 算 过 程 略 )。计算 结果 见 表1 和 图 5。
表1 计 算结 果


图5 灯 架 升降过租中B位的变化曲线
计算 结果 表 明,经 过优化 设 计的制 动系统,其 运 动 学 特 点 是:l ) 间隙B灯 架 所 处 高度 拭不 同 而 变 化;2 ) 最 小间 隙 凡l 。出现在 灯 杆 总 高度的1 2 /处;3 ) 杆 顶 与 杆底部 处 间 隙 最 大;4 ) 间除 变 化 t 只 有 ( 3 3.6 6 一 1 6.3 5 = ) 1 7.25 m m,于3 5 m长 的灯杆,间 隙变 化率 只 有0.0 4 9 %;5 ) 为 防止 升 降 过 程 中 出 现 制 动 现 象 ( B 簇 0 ),灯 架 在 灯 杆 底 部 的 初 始调 整 间隙 应 取为 5 0m m。
6 防坠 制动 系统 可 靠 性试 验
为验证防 坠 制 动 系 统的可 靠 性,将G3 0 型 高 杆灯交 国 家 起 重运 输 机 械 质 量监 督检验测试中 心 作 破坏 性 试 验。
试 验 方 案 见 图6。坠 落质 量 与 实 际 使用 工 况 相 符。主 钢 丝绳 拉 断或 脱 扣 用 剪断 方式 模 拟.灯 架 提 升 高 度H 一 2 0 ~3 0m。测 量断 绳 前 后 灯 架的 高度变 化量八 H ( 即 坠 落 高度 )。试验 结 果 见表2 及 图 5。可知 该 制动 系 统 能 在断 绳 或 脱 扣 瞬间实 现 制 动,灯 架 下 滑 7 0 一1 5 0m m 对 保 护 照。
图6 断绳试验方案简圈

表2 断绳试脸结果

7 结论
赢咖7极悦G3O型升降高杆灯防坠制动系统的理论计算与 实 际 效 果 完 全 吻 合,制动系统 反应 迅速,动作可 靠,坠 落 件 不 产 生 高 速 坠 落 现 象,下坠 行 程 也 很 小,完 全达到了设 计 要 求。
制 动蹄表 面 贴有 橡 胶 层,既 可增 大摩 擦力,又可起缓冲作用。制 动 蹄 支 承 杆 件 为 半刚 性杆系,避免 了 制运过程 的 粗 暴性。
制动 系 统中 设有 引发 弹 簧,在断 绳瞬 间 即 可使制动 蹄 与 灯杆表 面 接 触 和抱 紧,但 又 不是 原地 制动。从 制 动 开 始 到 完 全 制动,制动 蹄u形 架 夹 角 由 大逐渐变小,制 动力则 由 小 逐 渐 加 大。这一缓冲延时过程对保护灯架及灯具十分有利。
上一条: 升降式高杆灯简易维修方法
下一条: 机场站坪高杆灯避雷针 防雷分析及改进建议


苏公网安备32108402000666号 