多功能组合型灯杆
多功能组合型灯杆

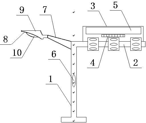
赢咖7极悦组合式信号灯,包括灯杆以及安装在灯杆上的横梁,所述横梁上安装有红、黄、绿三种颜色的信号灯,所述横梁的上端安装有支撑板,所述支撑板上安装有计数器,在计数器的上方设有液晶显示屏,所述灯杆上设有呼叫按钮;所述灯杆的顶端通过斜杆安装有LED灯,所述LED灯上方设有灯罩和位于灯罩下方的散光板。本实用新型将信号灯与路灯结合在一起使用,能够照亮路面;同时通过设置计数器,能够准确及时掌握路口的车流量情况,省时省力,同时通过液晶显示屏将数据显示出来;通过安装呼叫按钮,与救援总部连接,便于及时预警。

赢咖7极悦主要要求: 1.一种组合式信号灯,包括灯杆(1)以及安装在灯杆(1)上的横梁(2),所述横梁(2)上安装有红、黄、绿三种颜色的信号灯,其特征在于:所述横梁(2)的上端安装有支撑板(3),所述支撑板(3)上安装有计数器(4),在计数器(4)的上方设有液晶显示屏(5),所述灯杆(1)上设有呼叫按钮(6);所述灯杆(1)的顶端通过斜杆(7)安装有LED灯(8),所述LED灯(8)上方设有灯罩(9)和位于灯罩(9)下方的散光板(10)。









苏公网安备32108402000666号 